КЛАСС ГОЛОВОХОРДОВЫЕ — CEPHALOCHORDATA
Включает три семейства. Сем. Branchiostomidae объединяет около 20 видов типичных ланцетников; они имеют симметричное строение и достигают 6—8 см длины. Сем. Epigonichtidae включает несколько видов мелких ланцетников (длина до 5 см), отличающихся асимметричным строением: половые железы располагаются только на правой стороне тела, а правая метаплевральная складка переходит в подхвос- товой плавник.
Семейство Amphioxididae состоит из нескольких видов мелких (до 1,5 см) пелагических ланцетников с личиночными чертами строения. У них отсутствует атриальная полость, ротовое отверстие лежит на левой стороне, лишь один ряд жаберных отверстий расположен на брюхе; глотка, как у миног, разделена на пищеводный (спинной) и дыхательный (брюшной) отделы. Предполагают, что, возможно, это личинки каких-то Epigonichtidae, не прошедшие метаморфоз: у них не обнаружены половые железы. Это семейство изучено слабо.Хорошо известны ланцетники p. Branchiostoma. Они живут на дне, преимущественно на глубинах 10—30 м. Чаще держатся на песчаных участках, зарываясь в грунт и выставив наружу переднюю часть тела (рис. 10). Реже встречаются на илистых или глинистых грунтах; на таких участках животные лежат на поверхности. Ланцетники совершают сезонные перемещения. Так, у берегов штата Джорджия (США) на глубинах 20 м в июне — июле обнаруживают огромные скопления Branchiostoma caribaena в 1300—1400 особей на 1 м2. К ноябрю их численность уменьшается до 100 животных и продолжает сокращаться до весны, вновь увеличиваясь летом.
Удлиненное, сжатое с боков полупрозрачное тело ланцетника окаймлено плавниковой складкой: от переднего конца тела она идет по спинной стороне (здесь ее называют спинным плавником), плавно переходит в ланцетовидный хвостовой плавник и далее продолжается как подхвостовой плавник; от предротовой воронки по бокам брюшка тянутся правая и левая метаплевральные складки, сливающиеся с под- хвостовым плавником.
Кожа ланцетника образована однослойным эпителием (эпидермисом) и подстилающим его тонким слоем студенистой соединительной ткани — кориумом. Выделения эпидермальных желез образуют тонкую поверхностную пленку (кутикулу из мукополисахаридов), предохраняющую нежную кожу от повреждений частицами грунта.

От переднего до заднего конца тела тянется хорда, или нотохорд, у ланцетников представленная уникальным образованием, не встречающимся у других хордовых (Guthrie, Banks, 1970). Хорда образуется из энтодермы, отшнуровываясь от спинной стороны первичной кишки, прилегающей к миогенному (образующему мышцы) комплексу. Нотохорд ланцетника — сложная система поперечных мышечных пластинок, окруженных соединительнотканной оболочкой (рис. 11). Пластинки на большом протяжении изолированы друг от друга и только местами соединяются тонкими поперечными выростами. Нотохорд действует как мускульный орган: сокращение мышц увеличивает его жесткость; нотохорд ведет себя как гидростатический скелет. Активации нстохорда предшествует возникновение потенциалов в гигантских нервных волокнах Роон-Боардовских клеток нервной трубки (см. ниже).
К хорде прилегает 50—80 мышечных сегментов — миомеров, разделенных соединительными перегородками — миосептами (рис. 12 и 13). Миомеры состоят из поперечнополосатых мышц. Миосепты сливаются с оболочкой хорды и соединительнотканным слоем кожи. Каждый миомер имеет форму половины конуса с вершиной, входящей в выемку впереди
лежащего миомера. Это обеспечивает связь миомеров друг с другом и хордой. Миомеры одной стороны смещены на половину сегмента по отношению миомеров другой стороны: мио- септа располагается против середины миомера противоположной стороны (асимметрия мускулатуры). Сокращение миомеров последовательно изгибает тело в горизонтальной плоскости (червеобразное, или ундулирующее, движение; рис. 14). Упругие лопасти хвоста при таком движении, изгибаясь, работают как гребной винт, толкая тело вперед.
Центральная нервная система представлена толстостенной нервной трубкой, лежащей, над хордой (см. рис. 12 и 13); ее передний конец немного ке доходит до конца хорды (отсюда название класса «головохордовые»: передний конец хорды выдается за передний конец нервной трубки).
Внешне нервная трубка не делится на головной и спинной мозг, но во внутреннем строении и функциях различия существуют: головной конец нервной трубки (протяженностью примерно на два сегмента) оказывает регулирующее влияние на всю рефлекторную деятельность животного. Разрушение передней части нервной трубки приводит к нарушению координации движений; узкая полость нервной трубки — невроцель — образует здесь небольшое расширение, которое считают зачатком (или остатком?) мозгового желудочка. У личинки эта полость отверстием (невропором) соединена с лежащей на поверхности тела ямкой Келликера (органом обоняния); позже невропор зарастает. На дне этого расширения обособляется воронка — скопление реснитчатых и секреторных клеток, видимо, рецептора движения или зачатка гипофизарной системы; по-видимому, она не является аналогом воронки промежуточного мозга позвоночных. В стенках головного отдела есть скопления особых ганглионарных клеток, а в передней части расположено пигментное пятно (непарный «глазок»). Его функция не выяснена; предполагают, что это остаток органа равновесия. От переднего конца нервной трубки отходит две пары чувствующих головных нервов, иннервирующих передний конец тела.
В остальной части нервной трубки в каждом сегменте тела отходят по две пары (правая и левая) нервов: спинных и брюшных (рис. 15,1 и 2). Двигательный брюшной нерв начинается несколькими корешками

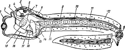
Рис. 12. Строение ланцетника:
А — общая схема: / — ямка Гатчека, 2 — глазки Гессе, 3 — мерцательный орган, 4 — анальное отверстие, 5 — атриопор, 6 — хорда, 7 — околоротовые щупальцы, 8 ~ кишка, 9 — эндостиль, 10 — желудок, 11 — печеночный вырост, 12 — нервная трубка (спинной мозг), 13 — миомер, 14 — миосепта,
15 — метаплевральная складка, 16 — подхвостовой плавник, 17 — хвостовой плавник, 18 — спниной плавник, 19 — жаберная щель, 20 — парус;
Б — кровеносная система: 1 — приносящие жаберные артерии, 2 — выно
сящие жаберные артерии, 3 — сонные артерии, 4 — спинная аорта, 5 — брюшная аорта, б — Кювьеровы протоки, 7 — корнн спинной аорты, 8 — хвостовая вена, 9 — передние кардинальные вены, 10 — задние кардинальные вены, 11 — подкншечиая вена, 12 — воротная вена печени
и ветвится в миомере.
Спинной нерв отходит одним корешком и включает как чувствующие волокна (ветвятся преимущественно в коже), так и двигательные (оканчиваются в мускулатуре внутренних органов). Нервы правой и левой сторон как бы сдвинуты на половину метамера. На уровне спинного нерва правой стороны отходит брюшной нерв левой стороны и т. д. Положение нервов отвечает расположению правых и левых миомеров.В каждом сегменте нервной трубки имеются нервные клетки, образующие рефлекторные дуги и нейроны, связывающие его правую и левую стороны. Очень характерны так называемые Роон-Боардовские клетки, дендритами связанные с чувствующими нервами от кожи, а аксонами с вышележащей Роон-Боардовской клеткой; они обеспечивают проведение импульсов в передний мозг. Кроме того, в 6—11-м и 39—61-м сегментах нервной трубки ланцетника есть гигантские нервные клетки Овсянникова-Родэ, осуществляющие межсегментные цепные связи от головы к хвосту (вверху нервной трубки) и обратно (внизу нервной трубки). Вместе с ганглиозными клетками головного отдела они координируют работу миохордального комплекса, обеспечивая все формы несложного поведения животного: уплывает от опасности и закапывается в грунт, принимает наиболее выгодное положение на разных типах грунта и др. Однако центральная нервная система
alt="" />
Рис. 13. Поперечный разрез в жаберной области (А) и позади атриопора (Б):
I — брюшная мускулатура. 2 — плавниковая камера, 3 — жаберная дужка, 4 — брюшная аорта, 5 — ротоглоточная полость, 6 — атрнальиая полость, 7 — нотохорд (хорда), 8 — целом, 9 — кожа, 10 — эндостнль, И — печеночный вырост, 12 — гонада, 13 — нервная трубка (спннной мозг), 14 — мномер, 18 — миосепта, 16 — невроцель, 17 — глазки Гессе, 18 — корни спннной аорты, 19 — наджаберная борозда, 20 — кишечная трубка

Рнс. 14. Перемещение ланцетника. А — движение тела; В — движение хвостового отдела.
современного ланцетника, как указы- вают рудименты в ее головной части, у предков, видимо, была сложнее, что связано с их более активным образом жизни.
Органы чувств ланцетника просты. Механические (тактильные) ощущения воспринимаются нервными окончаниями в поверхностном слое кожи. Там же располагаются инкапсулированные нервные клетки, воспринимающие химические раздражения; они выстилают и ямку Келликера. В нервной трубке, преимущественно в области невроцеля, расположены глазки Гессе, состоящие каждый из чувствующей клетки, к которой прилегает вогнутая пигментная клетка. Проходящие через полупрозрачные ткани животного световые лучи улавливаются глазками Гессе. Последние работают как фотореле, регистрируя, какая часть тела животного погружена в грунт. Многие нервные клетки ланцетника выделяют вещества (нейросекреты), участвующие в передаче нервного импульса. Интенсивная секреторная деятельность, наблюдается в больших дорзальных клетках, в глазках Гессе и гигантских клетках Овсянникова-Родэ.
Образование миохордального комплекса, особенности нервной системы и органов чувств обеспечило возрастание подвижности бесчерепных. Потревоженный ланцетник, вырываясь из грунта, быстро проплывает небольшое расстояние и вновь закапывается. Питание остается пассивным, и большая подвижность не используется для активных поисков и сбора пищи, но она обеспечивает сезонные миграции протяженностью в несколько километров.
На переднем конце тела расположена предротовая воронка с венчиком щупалец (см. рис. 12). В ней находится ротовое отверстие, окруженное парусом — мускулистой перегородкой, на передней поверхности которой размещаются тонкие лентовидные выросты мерцательного органа, а на задней — обращенные в полость глотки короткие щупальцы паруса; последние препятствуют попаданию в глотку слишком крупных пищевых частиц. Ротовое отверстие ведет в огромную глотку, стенки которой пронизаны — более сотни пар — жаберными щелями. Они отделены друг от друга тонкими межжаберными перегородками, покрытыми реснитчатым эпителием. Жаберные щели ведут в атриальную полость, открывающуюся наружу атриопором (см.
рис. 12, А—5). Вода через рот поступает в глотку, проходит через жаберные щели в окружающую глотку атриальную полость и через атриопор выводится наружу. Ток воды создается движением выростов мерцательного органа и колебаниями ресничек, покрывающих межжаберные перегородки. На дне глотки лежит эндостиль — желобок,выстланный железистым и реснитчатым эпителием (см. рис. 13, Л—10).
От переднего конца эндостиля идут две полоски реснитчатого эпителия; обогнув ротовое отверстие, они сходятся у начала наджаберной борозды, лежащей на спинной стороне глотки (см. рис. 13, А—19).
Клетки эндостиля выделяют слизь.
Мерцанием ресничек эндостиля и межжаберных перегородок она гонится к наджаберной борозде, по пути обволакивая и увлекая вверх попавшие в глотку с током воды пищевые частицы. Реснитчатый эпителий наджаберной борозды направляет слизь с захваченными пищевыми частицами назад, где она попадает в начало кишечника.
Резко сужаясь на заднем конце, глотка переходит в относительно короткую кишку (см. рис. 12), заканчивающуюся анальным отверстием. От ее начальной части, сразу же за глоткой, отходит направленный вперед печеночный вырост; его стенки выделяют пищеварительные ферменты. Переваривание пищевых частиц происходит как в полости печеночного выроста, так и по всей длине кишечника (рис. 16, Б). Большой объем фильтруемой воды обеспечивает получение достаточного количества пищи при таком пассивном характере питания.
Кровеносная система бесчерепных замкнута и кровь движется только по сосудам, имеющим собственные стенки (см. рис. 12, Б). В общей схеме она близка к кровеносной системе водных позвоночных, но отличается отсутствием сердца. Под глоткой проходит крупный сосуд — брюшная аорта aorta ventralis, по которой венозная кровь течет к переднему концу тела. От нее отходит более сотни — по числу межжаберных перегородок — жаберных артерий. Ток крови создается пульсацией брюшной аорты и оснований жаберных артерий. Жаберные артерии впадают в парные корни спинной аорты, дающие вперед две короткие веточки — сонные артерии. Они снабжают кровью передний конец тела. У заднего края глотки парные корни сливаются в спинную аорту aorta dorsalis, идущую под хордой до конца

Рис. 17. Нефридий (выделительный каналец) ланцетника. Часть нефридия с сем^ю соленоцитами (Л) и каналец с нефростомами (5):
/ — булавовидные клетки-соленоциты, 2 — отверстия в полость тела (целом), 3 — отверстие в атриальную полость (с зоной мерцательных волосков), 4 — жаберная щель
хвоста; по отходящим от нее артериям кровь поступает во все участки тела.
Пройдя систему капилляров, венозная кровь от стенок кишечникр собирается в непарную подкишечную вену, идущую к печеночному выросту. Там, вновь распадаясь на капилляры, она образует воротную систему печени. Капилляры печеночного выроста вновь сливаются в короткую печеночную вену (vena hepatica), впадающую в небольшое расширение — венозный синус (sinus venosus). От переднего и заднего конца тела кровь собирается в парные передние и задние кардинальные вены (venae cardinales anterior et posterior). С каждой стороны они сливаются в правый и левый кювьеровы протоки (см. рис. 12, Б—9), впадающие в венозный синус. От венозного синуса начинается брюшная аорта. Таким образом, у бесчерепных лишь один круг кровообращения. Их кровь бесцветна и не содержит дыхательных пигментов. Малые размеры животного и тонкая кожа позволяют насыщать кровь кислородом не только в жаберных артериях, но и во всех поверхностных сосудах тела. Благодаря этому насыщенность кислородом крови в артериях и венах сходна.
Выделительная система бесчерепных похожа на нефридиальную систему кольчатых червей. Над глоткой лежат около ста пар нефриднев. Нефридий представляет собою короткую, сильно изогнутую трубку (рис. 17), отверстием открывающуюся в атриальную полость над вершиной жаберной щели. Почти вся трубка нефридия вдается в полость
тела — целом (остатки целома сохраняются у ланцетника в виде двух полостей по бокам верхнего отдела глотки, в основании эндостиля и метаплевральных складок). На этой части трубки имеются несколько отверстий — нефростом, каждое из которых замкнуто группой специальных клеток — соленоцитов. Соленоцит — булавовидная клетка; в ее длинной ножке имеется узкий канал, внутри которого находится мерцательный волосок. В стенках тела у нефридиев располагаются клубочки капилляров. Продукты распада через эти клубочки фильтруются в полость целома, а оттуда проникают в тело соленоцита и в канал в его ножке; мерцательная ресничка облегчает стекание продуктов распада из канала соленоцита в просвет нефридиальной трубки, откуда они через отверстие выделяются в атриальную полость и с постоянно идущим через нее током воды выводятся наружу. Такой тип выделения возможен лишь при относительно невысоком уровне обмена веществ, характерном для бесчерепных.
Ланцетник и другие бесчерепные раздельнополы: у каждой особи развиваются яичники либо семенники, внешне похожие: это округлые вздутия на стенке тела, примыкающей к атриальной полости (см. рис. 13, А—12). У каждой особи развивается около 25 пар половых желез. Они не имеют протоков, и зрелые половые клетки выпадают в атриальную полость через разрыв стенки половой железы; подхватываются там током воды и через атриопор выводятся наружу. Выделение зрелых половых продуктов обычно происходит сразу после захода солнца. Подобная синхронность облегчает оплодотворение, которое всегда происходит в воде, вне материнского организма.
Индивидуальное развитие ланцетника типично для хордовых, в том числе и низших позвоночных (с. 20). Его начальные стадии протекают быстро. Оплодотворенное яйцо (диаметр около 0,1 мм) испытывает полное и почти равномерное дробление (см. рис. 6), в результате которого образуется шаровидная бластула. Через 5—8 ч после оплодотворения начинается инвагинация: формируется двухслойная гас- трула. В период 12—24 ч происходит образование мезодермы (среднего зародышевого листка) и дальнейшая дифференцировка зародыша; формируются нервная трубка, хорда, целомические мешки. Целомические мешки образуются не одновременно, а последовательно спереди назад. Разрастаясь, каждый из них подразделяется на лежащий по бокам хорды и нервной трубки толстостенный сомит и ниже расположенную тонкостенную боковую пластинку. Дифференцируясь, стенки сомитов образуют соединительнотканную оболочку хорды и нервной трубки, миомеры и соединительнотканный слой кожи — кутис. Стенки боковых пластинок дают листки брюшины и мускулатуру кишки, а слившиеся полости боковых пластинок превращаются во Вторичную полость тела — целом.
На этой стадии в возрасте около суток зародыш разрывает оболочку яйца и выходит в воду в виде личинки длиной около 3 мм. Она плавает в толще воды с помощью покрывающих тело ресничек. Через 30—36 ч после вылупления на левой стороне переднего конца тела образуется углубление, в которое позже прорывается полость кишечника; так асимметрично закладывается ротовое отверстие (рис. 18). На брюшной
стороне тела, позади ротового отверстия возникает первая, а затем последовательно еще 14 жаберных щелей, позднее перемещающихся на правую сторону. На правой стороне дорзальнее переместившихся щелей прорываются 8 новых жаберных щелей. Далее нижний (ранее образовавшийся) ряд щелей вновь смещается на брюхо, при этом число жаберных щелей также сокращается до 8, и потом на левую сторону. Одновременно ротовое отверстие перемещается на брюшную сторону, и личинка становится симметричной. К этому времени прорывается анальное отверстие, а на дне глотки формируется эндостиль, после этого личинка начинает питаться. Число жаберных щелей увеличивается за счет прорыва новых жаберных отверстий и деления образовавшихся щелей на две выростом их верхней стенки (рис. 18). По бокам тела, над жаберными щелями образуются продольные выросты — метаплевральные складки. Разрастаясь книзу и навстречу друг другу, они смыкаются под брюшком животного, образуя атриальную полость. В виде слепых выростов стенок тела у верхней части глотки возникают нефридии, позже прорывающиеся в атриальную полость.
Личиночная стадия продолжается около 3 месяцев. Все это время личинка плавает в толще воды, перемещаясь при помощи колебательных движений ресничек эпидермиса, а позже — и движений хвоста. Она заглатывает не только мелких, но и довольно крупных планктонных животных, т. е. ведет в какой-то степени хищный образ жизни. Затем личинка опускается на дно; вокруг ротового отверстия формируется околоротовая воронка с венчиком щупалец и образуются зачатки половых желез. К концу первого года жизни ланцетник достигает 3 см длины, к концу второго — 4, третьего — 5—6, четвертого — 7—8 см. Половозрелость наступает на 2—3-м году жизни.
Свободно плавающий образ жизни личинки, ее активное питание и более сложная морфология (в частности, наличие не только соматической, но и внутренностной мускулатуры) позволяют считать, что личиночная организация ланцетников ближе к гипотетическому предку позвоночных животных, нежели строение взрослых. Упрощение организации современных взрослых ланцетников, очевидно, связано с переходом к жизни в грунте и пассивному питанию (Webb, 1969).
Еще по теме КЛАСС ГОЛОВОХОРДОВЫЕ — CEPHALOCHORDATA:
- КЛАСС КОСТНЫЕ РЫБЫ — OSTEICHTHYES Характеристика класса и система
- КЛАСС ГОЛОВОНОГИ
- ВИДЫ И КЛАССЫ
- КЛАСС КРУГЛОРОТЫЕ — CYCLOSTOMATA
- КЛАСС БРЮХОНОГИ
- КЛАСС ЗЕМНОВОДНЫХ
- КЛАСС ПРЕСМЫКАЮЩИХСЯ
- КЛАСС ЛЕНТОЧНЫХ ЧЕРВЕ
- 19.1.1. Класс Саркодовые Sarcodina
- КЛАСС РЫБ
- КЛАСС РАКООБРАЗНЫ
- КЛАСС ПАУКООБРАЗНЫ
- 21.2. КЛАСС НАСЕКОМЫЕ INSECTA
- КЛАСС ПТЕРАСПИДОМОРФЫ — PTERASPIDOMORPHI
- 21.1. КЛАСС ПАУКООБРАЗНЫЕ ARACHNOIDEA
- З.З.6.З. РАЗДЕЛЕНИЕ ЛИПИДОВ НА КЛАССЫ МЕТОДОМ ТОНКОСЛОЙНОЙ ХРОМАТОГРАФИИ (ТСХ)